Транспортирование компонентов

Пневматический транспорт – применяется для погрузочно-разгрузочных работ, а также транспортировки муки из мест складирования в производственные подразделения. Герметичность системы минимизирует распыл и, как следствие, потери продукта.
Вакуумный транспортёр осуществляет процесс перегрузки сыпучих продуктов из одной точки в другую с заданной цикличностью. Перемещение по трубопроводу происходит за счёт разряженного воздуха в транспортной системе. Максимальная производительность – 3,5 тонн в час. Высота подъема перемещаемого продукта — до 6 м, что позволяет перемещать сыпучее сырьё на разные этажи производства.
Спиральные транспортные системы – наиболее распространённый и практичный вид транспортных систем. Благодаря гибким шнекам удаётся достичь максимально эффективной организации процесса приемки, растаривания, хранения, транспортирования, просеивания и дозирования продуктов на производстве.
К основным преимуществам специалисты относят: минимальный расход электроэнергии и экономию производственных площадей, отсутствие шума, пыли и конденсата, конструктивную универсальность (могут создавать новые линии или встраиваться в уже действующие), а также надёжность и долговечность трасс. Производительность – до 5 тонн в час.
Дозирование
Дозатор сыпучих компонентов обеспечивает точное отвешивание или отмеривание сыпучего сырья массой от 1 до 450 кг и объемом до 900 л для последующей подачи на этапы производства. Предназначен для дозирования порошкообразной, мелкодисперсной и гранулированной продукции. Величина дозы отмеряется с помощью тензодатчиков, что делает процесс дозирования максимально точным. Дозаторы, разработанные конструкторами “Русской Трапезы”, идеально подходят для работы в составе технологических линий в комплексе с оборудованием для бестарного хранения и транспортирования сырья. Но могут эксплуатироваться и в качестве обособленных технических единиц.
Дозатор жидких компонентов. Тип дозатора зависит от характеристик дозируемого сырья. “Русская Трапеза” предлагает широкую линейку оборудования, в том числе: дозатор воды, дозатор растопленного маргарина и жира, дозатор жидкой патоки и многие другие.
Основное назначение – дозирования порций различных жидких продуктов и компонентов на кондитерских и хлебопекарных предприятиях. Технические характеристики дозатора и способ его установки зависит от индивидуальных условий каждого проекта. Так, например, для дозирования патоки и растопленного жира оборудование обеспечивает постоянное поддержание заданной температуры на определённом уровне.
Система управления и интеграция с 1С
Система управления ресурсами предусматривает построение системной платформы управление ресурсами, эффективностью и производственным циклом предприятия, включая удаленное управление, мониторинг процессов и облачное хранения данных. Подробнее >>>
Интеграция весового комплекса с системой 1С
Модуль интеграции для взаимодействия весового оборудования и системы 1С (ERP 2.0, УПП) — это новая разработка компании. Главная задача модуля — двусторонний обмен данными между системами. Подробнее >>>
Решение о том, какое оборудование подойдет для Вашего предприятия, помогут принять специалисты “Русской Трапезы” после тщательного изучения особенностей производства. Все проекты разрабатываются и реализуются под контролем штатного технолога холдинга.
Аэромеханические конвейеры
Эффективной альтернативой гибкому винтовому конвейеру может стать аэромеханический конвейер. Сущность его работы заключается в следующем:
-
внутри полой трубы размещен трос, на котором закреплены передающие диски;
-
двигатель приводит в действие трос с дисками, которые перемещают продукт.
Такой метод отличается бережностью воздействия на пищевое сырье, а также широкими возможностями использования – аэромеханический конвейер может иметь различную протяженность и конфигурацию и подходит для перемещения продуктов под углом от 0 до 90 градусов, не теряя мощности.
Оборудование данного типа является отличным выбором для транспортировки муки, потому что любая пыль, создаваемая во время транспортировки, будет оставаться внутри передающей трубы, тем самым уменьшая риск возгорания. Такая защищенность соответствует требованиям ATEX.
Кроме того, аэромеханические конвейеры герметичны, экономичны и создают минимум шума. За счет того, что транспортировка происходит плавно, они идеально подходят для продуктов, которые нужно защищать от деградации, – в частности, их можно использовать и для сахара.
Аэромеханический конвейер обеспечивает ряд эксплуатационных преимуществ, когда необходимо свести к минимуму потери продукта и его возможное загрязнение, а также повысить «чистоту» оборудования и производительность оператора.
Оборудование для пневматического транспортирования муки
Из различных систем пневмотранспорта муки на хлебопекарных и макаронных предприятиях наибольшее распространение получил аэрозольтранспорт, который характеризуется высокой массовой концентрацией сырья в транспортируемой смеси (до 200 кг муки на 1 кг воздуха). Это позволяет использовать трубопроводы меньших диаметров и компактные фильтрующие устройства.
В установках аэрозольтранспорта мука перемещается в результате давления воздуха, движущегося с незначительной скоростью. Высокое давление в начале материалопровода по мере продвижения муки падает и в конце трассы становится равным атмосферному.
Этот режим транспортирования благоприятен как с точки зрения износа материалопровода, так и с точки зрения потребления энергии: скорость несущей среды при этом режиме значительно ниже, чем при транспортировании в разреженной фазе (5. 8 против 20. 23 м/с), а концентрация намного больше (100. 200 против 30).
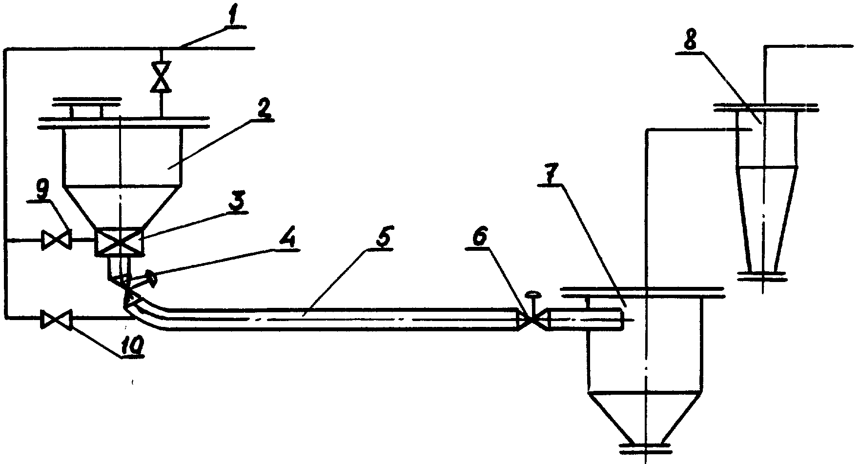
В аэрозольтранспортной установке сырье из автомуковоза по магистралям подается в секционные бункера. Мука распределяется по ним с помощью двухпозиционных переключателей. Воздух для аэрирования муки в бункерах нагнетается вентилятором высокого давления по воздушной магистрали, снабженной запорной арматурой.
Под каждым бункером устанавливают питатель, производительность которого регулируется изменением частоты вращения ротора. Для подачи сжатого воздуха предусмотрены компрессоры и ресивер, служащий для выравнивания и стабилизации давления.
Роторные питатели подают муку из бункера в фильтры-разгрузители и просеиватель. Затем, пройдя через автовесы, она поступает в промежуточную емкость и роторным питателем подается по мукопроводу в производственные бункера.
При поступлении муки в мешках предусмотрена установка, которая состоит из завальной ямы, пылесоса и шнека для подачи муки в питатель.
Опыт эксплуатации показывает, что всасывающие системы пневмотранспорта меньше пылят по сравнению с нагнетающими. Однако они имеют общие недостатки: громоздки, энергоемки; приобретение, монтаж и эксплуатация обходятся весьма дорого. Эти системы могут обслуживать только квалифицированные рабочие. Протяженность трасс всасывающих систем, как правило, меньше, чем в системах, работающих в режиме избыточного давления.
Пневмоустановка всасывающего типа используется на малых предприятиях. В этих условиях мука из бункеров поступает в шлюзовой затвор или питатель, далее по трубопроводу она направляется в весовой полуавтоматический дозатор, который снабжен заслонкой с пневмоприводом и герметической крышкой в верхней части. Дозатор связан с вакуум-насосом трубопроводом. Отработанный воздух проходит через фильтр и выбрасывается в атмосферу.
При использовании бестарного хранения сырья мука доставляется на хлебопекарные и макаронные предприятия, как правило, автомуковозами.

Автомуковоз. Состоит из тягача, на котором установлена компрессорная установка, и полуприцепа с двумя бункерами. Муку загружают в бункера через люк с герметизированными крышками, а выгружают через трубу, присоединяемую при помощи гибкого шланга к продуктопроводу мучного склада.
Муку выгружают с помощью компрессора автомашины, закрытого ограждением. Электродвигатель компрессора подключают к электросети предприятия. Из ресивера по трубе магистрали воздух поступает в верхнюю часть бункера, а по трубе в аэрируемое днище. Бункер автомуковоза закрывается сферической крышкой, которая по периметру прижимается к резиновой прокладке, уложенной в углублении кольца. Кольцо приварено к бункеру и образует верхний люк. Сферическим шарниром крышка крепится к рычагу, который поворачивается вокруг пальца, установленного в приваренной к бункеру серьге. На свободном конце рычага имеется прорезь, куда входит фигурный винт, шарнирно закрепленный на серьге пальцем. С помощью гайки, снабженной рукоятками, подшипником и подушкой, крышка герметично закрывается. Сферический шарнир обеспечивает равномерное распределение усилия затягивания резиновой прокладки по контуру. При разгрузке бункера сжатый воздух по трубе поступает в сферическое днище, болтами прикрепленное к бункеру. Герметичность соединения обеспечивается резиновой прокладкой. Между бункером и днищем расположен бельтинг. Аэрируемая через бельтинг мука поступает через конус в изогнутую трубку и выводится из бункера.
Similar Documents
| Publication | Publication Date | Title |
|---|---|---|
|
US6786681B2 |
2004-09-07 | Method and apparatus for the pneumatic conveying of fine bulk material |
|
US5240355A |
1993-08-31 | Dense phase transporter pneumatic conveying system |
|
US7128197B2 |
2006-10-31 | High volume conveyor sortation system |
|
US10093492B2 |
2018-10-09 | Material delivery system |
|
US7063206B2 |
2006-06-20 | Accumulating conveyor system |
|
US1970405A |
1934-08-14 | Handling pulverized coal and the like |
|
US4458698A |
1984-07-10 | Tobacco metering and feeding system |
|
GB1148839A |
1969-04-16 | Pneumatic conveying system for cigarette-making machines |
|
JPS5953315A |
1984-03-28 | Conveyer device |
|
RU2117621C1 |
1998-08-20 | Способ пневмотранспортирования сыпучих материалов |
|
US4491442A |
1985-01-01 | Method and device for pneumatic feeding of materials |
|
JPS58100014A |
1983-06-14 | Method of operating multistage conveyance equipment |
|
CA2130130C |
1999-05-25 | Method of reagent and oxidation air delivery |
|
GB1427570A |
1976-03-10 | Pneumatically conveyor systems for pulverulent or partriculate materials |
|
FI66202B |
1984-05-31 | Foerfarande och anordning foer att pneumatiskt mata tillsatsmaterialier till konvertrar |
|
CN113713683A |
2021-11-30 | 一种粉体混合输送设备及其输送方法 |
|
SU1463664A1 |
1989-03-07 | Установка дл пневматического транспортировани сыпучего материала |
|
CN111908160A |
2020-11-10 | 一种多料仓连续供料方法 |
|
EP3572904B1 |
2022-11-16 | Method and dispensing apparatus for dispensing a powder and/or granular material |
|
SU1373905A1 |
1988-02-15 | Вихревой эжектор |
|
KR20190076600A |
2019-07-02 | 연료 및 원료의 혼합 공급 시스템 |
|
SU1108058A1 |
1984-08-15 | Способ пневматического транспортировани сыпучего материала |
|
CN110626820B |
2021-06-22 | 一种提高大容积筒仓自动配煤准确度的优化方法 |
|
CN215901547U |
2022-02-25 | 一种粉体混合输送设备 |
|
CN210619609U |
2020-05-26 | 地面料仓悬臂四螺旋给料机 |
Тестирование продукта
При выборе правильного конвейера для сыпучих ингредиентов важно провести его комплексное тестирование. Оно позволит удостовериться, что сделан правильный выбор и что в будущем не возникнет каких-либо скрытых проблем и сложностей с использованием оборудования
Поэтому рекомендуется выбирать поставщиков, имеющих собственную испытательную лабораторию, где можно убедиться в эффективности работы любого конвейера из предлагаемой линейки, а также наполнителей и разгрузчиков мешков и других дополнительных устройств.
Крис Бреннан приводит различные ситуации, при которых рекомендуется проводить тестирование оборудования:
-
Приобретается конвейер или машина нового типа, который ранее не использовался, или же в старую систему добавляется новый продукт. Как показывает практика, не все материалы ведут себя одинаково на разных конвейерах. И тестирование в реальных условиях с конкретным видом сырья обеспечит максимальную наглядность.
-
Материал, с которым предстоит работать конвейеру, достаточно сложен в обращении. Это, прежде всего, рыхлые, липкие, гигроскопичные виды ингредиентов.
-
Покупка делается впервые у нового поставщика. Уважающий себя и своего клиента продавец оборудования для транспортировки пищевого сырья сам порекомендует покупателю провести испытание с конкретными видами продукции, чтобы избежать впоследствии каких-либо проблем.
-
Должна быть достигнута определенная пропускная способность.
В ходе тестирования эксперт Spiroflow также рекомендует оценивать следующие рабочие параметры:
-
Эффективность смешивания и разделения ингредиентов и их сочетаний – в ходе тест следует оценить, будет ли продукт смешиваться/разделяться и насколько эффективно.
-
Скорость потока – разные ингредиенты могут сильно различаться по своим характеристикам в транспортируемом по конвейеру потоке. Некоторые ингредиенты будут слеживаться и уплотняться, тогда как другие, напротив, могут разжижаться при перемещении. И только испытания в реальных условиях помогут определить характер поведения сырья.
-
Свойства частиц – объемные и твердые хлебопекарные ингредиенты могут сильно различаться по составу и размеру частиц, форме и плотности, и понимание характеристик продукта является едва ли не ключевым моментом при проектировании конвейерной системы и выборе оборудования.
Пневмотранспорт кукурузного крахмала
Алгоритм работы системы вакуумной загрузки с последующей пневмотранспортировкой материала на базе насоса «Бивер 5000Б»
Для загрузки крахмала в камерный насос, бункер оборудован пневмослоевым затвором, соединенным магистралью диаметром (Ду) 200мм подачи материала в камерный насос. Выпускной конус бункера расположен ниже врезки магистрали подачи материала в насос на
3 метра. Для компенсации этого перепада высот камерный насос оборудован вакуумной установкой.
Создавая необходимое разряжение внутри насоса (до (–) 10,15кПа) и управляя пневмослоевым затвором осуществляется пневматическая загрузка крахмала в насос. Для обеспечения надежности и долговечности работы воздушного фильтра фаза создания разряжения в насосе и фаза загрузки насоса крахмалом выполняются поочередно. Это позволяет откачивать из насоса относительно чистый (слабо запыленный) воздух и не забивать пылью крахмала фильтрующий элемент.
Дополнительно к этому, после каждой загрузки насоса производится пневматическая очистка картриджей фильтра. Расчетное время загрузки камерного насоса составляет 2,5 минуты. Производительность загрузки – 1 тонна/минуту.
Оборудование выполнено из стали 08Х18Н10 (AISI – 304)
АЭРОЗОЛЬНЫЙ ТРАНСПОРТ
В мукомольной, крупяной, комбикормовой промышленности широко применяется пневматический транспорт, который создает условия для внедрения автоматизации, повышения производительности труда и снижения себестоимости. Однако применение пневматического транспорта сопряжено с большой затратой электроэнергии на перемещение большого объема воздуха (1 кг воздуха перемещает 5 –6 кг сыпучего материала).
Более прогрессивным является аэрозольный транспорт, при котором большая концентрация материала в воздушном потоке достигается благодаря аэрации муки в начале транспортирования и высокому давлению воздуха. Аэрация нарушает сцепление между частицами муки, и она приобретает свойство текучести, подобно жидкости, в результате 1 кг воздуха перемещает до 200 кг муки,
Аэрозольтранспортная установка состоит из питателя, нагнетателя, материалопровода и разгрузителя. Основным элементом является питатель, в котором смешиваются воздух с материалом и смеси сообщается начальная скорость, что обеспечивает ее подачу в материалопровод.
Внедрение аэрозольтранспорта дает возможность повысить производительность мельниц и снизить удельный расход электроэнергии.
Аэрозольному транспорту принадлежит будущее не только в мукомольной, но и в других отраслях промышленности, связанных с использованием сыпучих материалов и порошков.
Гибкие винтовые конвейеры
Как показывает практика, производство некоторых хлебобулочных изделий больше подходит для внедрения автоматизированных конвейерных решений, чем другие ниши этой отрасли. Второстепенные ингредиенты в большинстве случаев обрабатываются вручную или с помощью систем микродозирования, обеспечивающих достаточную точность и скорость работы.
Особенно сложным ингредиентом является мука. В силу многочисленных разновидностей она может создать множество проблем, связанных с защитой от загрязнений и обеспечением требуемых гигиенических показателей, смешиванием и дозированием. Решить задачу транспортировки муки способен гибкий винтовой конвейер, имеющий только одну движущуюся часть-спираль.
При работе он постоянно перемешивает транспортируемое сырье, делает его однородным – и поэтому идеально подходит для перемещения муки. В зависимости от того, какой тип муки используется на производстве, выбирается наиболее подходящая спираль. В частности, для стандартной пшеничной муки оптимально подходят круглые шнеки.
Гибкая винтовая спираль, размещенная в трубе, благодаря особому принципу движения может передавать муку даже при размещении конвейера под углом. Этот тип оборудования особенно эффективен при работе именно с теми продуктами, которым не страшны механические воздействия и деградация. Большинство гибких шнековых конвейеров также могут оснащаться откидной ловушкой, быстроразъемными фланцами и обратной заглушкой для удобства очистки, что обеспечивает высокую гигиеничность такого оборудования.Такие конвейеры, в частности, успешно используются на фабрике знаменитого производителя печенья и крекеров Jacob’s Bakeries Ltd. Здесь с помощью гибких шнеков мука подается непосредственно в смеситель.
Транспортировка сахарной пудры также может создать существенные проблемы, поскольку этот широко используемый ингредиент достаточно легко воспламеняется. Для минимизации этого риска нужно выбрать конвейерную систему с соответствующими защитными характеристиками, а также обеспечить выполнение положений европейской директивы ATEX.
Еще одна проблема с сахарной пудрой заключается в том, что она имеет тенденцию слеживаться при транспортировке. Поэтому может потребоваться вспомогательное оборудование, которое будет поддерживать рассыпчатую консистенцию перемещаемого потока, а также облегчит процесс выгрузки пудры в смеситель.
Также нужно учитывать, что сахарный песок обладает выраженными абразивными свойствами. Следовательно, конвейер должен быть устойчив к такому износу. В частности, отмечает Крис Бреннан, особой защиты требуют боковые стенки конвейера. Кроме того, сахар-песок, как и пудра, очень горюч и потенциально взрывоопасен, поэтому он может легко воспламениться при высоких температурах.
Выбираемый конвейер должен быть спроектирован таким образом, чтобы при его работе не происходило выбросов мелкодисперсного сырья и не накапливалось статическое электричество. Также нужно проконтролировать, чтобы не создавались условия, способные привести к возгоранию.
Info
- Publication number
- RU2117621C1
RU2117621C1
RU96103787A
RU96103787A
RU2117621C1
RU 2117621 C1
RU2117621 C1
RU 2117621C1
RU 96103787 A
RU96103787 A
RU 96103787A
RU 96103787 A
RU96103787 A
RU 96103787A
RU 2117621 C1
RU2117621 C1
RU 2117621C1
Authority
RU
Russia
Prior art keywords
feeder
flows
flow
air
transportation
Prior art date
1996-02-26
Application number
RU96103787A
Other languages
English (en)
Other versions
RU96103787A
(ru
Inventor
В.П. Тарасов
О.Л. Левин
А.В. Тарасов
А.А. Глебов
Original Assignee
Алтайский государственный технический университет им.И.И.Ползунова
Priority date (The priority date is an assumption and is not a legal conclusion. Google has not performed a legal analysis and makes no representation as to the accuracy of the date listed.)
1996-02-26
Filing date
1996-02-26
Publication date
1998-08-20
1996-02-26Application filed by Алтайский государственный технический университет им.И.И.Ползунова
filed
Critical
Алтайский государственный технический университет им.И.И.Ползунова
1996-02-26Priority to RU96103787A
priority
Critical
patent/RU2117621C1/ru
1998-04-20Publication of RU96103787A
publication
Critical
patent/RU96103787A/ru
1998-08-20Application granted
granted
Critical
1998-08-20Publication of RU2117621C1
publication
Critical
patent/RU2117621C1/ru




























